License Lamps for 2002 Pontiac Firebird
Vehicle
2002 Pontiac Firebird
Change Vehicle
- Bumper & Components - Front
- Bumper & Components - Rear
- Center Console
- Convertible Top
- Cover & Components
- Cowl
- Door
- Door & Components
- Exterior Trim - Door
- Exterior Trim - Fender
- Exterior Trim - Hood
- Exterior Trim - Pillars
- Exterior Trim - Quarter Panel
- Exterior Trim - Roof
- Fender & Components
- Floor
- Folding Top
- Gate & Hardware
- Glass - Door
- Glass - Windshield
- Glass & Hardware
- Hinge Pillar
- Hood & Components
- Inner Components
- Instrument Gauges
- Instrument Panel
- Interior Trim - Convertible Top
- Interior Trim - Door
- Interior Trim - Pillars
- Interior Trim - Rear Body
- Interior Trim - Roof
- Labels
- Lid & Components
- Lock & Hardware
- Master Cylinder - Components On Dash Panel
- Outside Mirrors
- Quarter Panel
- Quarter Panel & Components
- Radiator Support
- Rear Body
- Rocker Panel
- Roof
- Roof & Components
- Seat Assembly
- Seat Belt
- Sound System
- Structural Components & Rails
- Top & Components
- Tracks & Components
- Trunk
- Uniside
- Windshield Header & Components
- Wiper & Washer Components
- ABS Components
- Air Bag Components
- Alternator
- Antenna & Radio
- Anti-Theft Components
- Automatic Transmission
- Battery
- Battery & Related Components
- Bulbs - Chassis
- Combination Lamps
- Controls
- Cruise Control System
- Daytime Running Lamp Components
- Daytime Running Lamps
- Door
- Electrical Connectors
- Electrical Sockets
- Flashers
- Fog Lamps
- Front Seat Belts
- Fuse & Relay
- Glass, Windows & Related Components
- Headlamp Components
- High Mount Lamps
- Horn
- Ignition Lock
- Ignition System
- Instruments & Gauges
- Keyless Entry Components
- License Lamps
- Lighting - Exterior
- Lighting - Interior
- Mirrors
- Park & Signal Lamps
- Powertrain Control
- Rear Seat Belts
- Senders
- Sensors
- Side Marker Lamps
- Starter
- Switches
- Switches, Solenoids & Actuators
- Trunk
- Wipers
- A/C Accumulator/Receiver Drier
- A/C Clutch & Compressor
- A/C Flow Restrictors
- Blower Motor & Fan
- Condenser, Compressor & Lines
- Controls
- Electrical Connectors
- Evaporator & Heater Components
- Heater
- Hoses & Pipes
- HVAC Case
- Motors, Core, Case & Related Components
- Sensors
- Switches & Sensors
- Switches, Solenoids & Actuators
- Bumper & Components - Front
- Bumper & Components - Rear
- Center Console
- Convertible Top
- Cover & Components
- Cowl
- Door
- Door & Components
- Exterior Trim - Door
- Exterior Trim - Fender
- Exterior Trim - Hood
- Exterior Trim - Pillars
- Exterior Trim - Quarter Panel
- Exterior Trim - Roof
- Fender & Components
- Floor
- Folding Top
- Gate & Hardware
- Glass - Door
- Glass - Windshield
- Glass & Hardware
- Hinge Pillar
- Hood & Components
- Inner Components
- Instrument Gauges
- Instrument Panel
- Interior Trim - Convertible Top
- Interior Trim - Door
- Interior Trim - Pillars
- Interior Trim - Rear Body
- Interior Trim - Roof
- Labels
- Lid & Components
- Lock & Hardware
- Master Cylinder - Components On Dash Panel
- Outside Mirrors
- Quarter Panel
- Quarter Panel & Components
- Radiator Support
- Rear Body
- Rocker Panel
- Roof
- Roof & Components
- Seat Assembly
- Seat Belt
- Sound System
- Structural Components & Rails
- Top & Components
- Tracks & Components
- Trunk
- Uniside
- Windshield Header & Components
- Wiper & Washer Components
- ABS Components
- Air Bag Components
- Alternator
- Antenna & Radio
- Anti-Theft Components
- Automatic Transmission
- Battery
- Battery & Related Components
- Bulbs - Chassis
- Combination Lamps
- Controls
- Cruise Control System
- Daytime Running Lamp Components
- Daytime Running Lamps
- Door
- Electrical Connectors
- Electrical Sockets
- Flashers
- Fog Lamps
- Front Seat Belts
- Fuse & Relay
- Glass, Windows & Related Components
- Headlamp Components
- High Mount Lamps
- Horn
- Ignition Lock
- Ignition System
- Instruments & Gauges
- Keyless Entry Components
- License Lamps
- Lighting - Exterior
- Lighting - Interior
- Mirrors
- Park & Signal Lamps
- Powertrain Control
- Rear Seat Belts
- Senders
- Sensors
- Side Marker Lamps
- Starter
- Switches
- Switches, Solenoids & Actuators
- Trunk
- Wipers
- A/C Accumulator/Receiver Drier
- A/C Clutch & Compressor
- A/C Flow Restrictors
- Blower Motor & Fan
- Condenser, Compressor & Lines
- Controls
- Electrical Connectors
- Evaporator & Heater Components
- Heater
- Hoses & Pipes
- HVAC Case
- Motors, Core, Case & Related Components
- Sensors
- Switches & Sensors
- Switches, Solenoids & Actuators
Browse Categories
Select category
- Bumper & Components - Front
- Bumper & Components - Rear
- Center Console
- Convertible Top
- Cover & Components
- Cowl
- Door
- Door & Components
- Exterior Trim - Door
- Exterior Trim - Fender
- Exterior Trim - Hood
- Exterior Trim - Pillars
- Exterior Trim - Quarter Panel
- Exterior Trim - Roof
- Fender & Components
- Floor
- Folding Top
- Gate & Hardware
- Glass - Door
- Glass - Windshield
- Glass & Hardware
- Hinge Pillar
- Hood & Components
- Inner Components
- Instrument Gauges
- Instrument Panel
- Interior Trim - Convertible Top
- Interior Trim - Door
- Interior Trim - Pillars
- Interior Trim - Rear Body
- Interior Trim - Roof
- Labels
- Lid & Components
- Lock & Hardware
- Master Cylinder - Components On Dash Panel
- Outside Mirrors
- Quarter Panel
- Quarter Panel & Components
- Radiator Support
- Rear Body
- Rocker Panel
- Roof
- Roof & Components
- Seat Assembly
- Seat Belt
- Sound System
- Structural Components & Rails
- Top & Components
- Tracks & Components
- Trunk
- Uniside
- Windshield Header & Components
- Wiper & Washer Components
- ABS Components
- Air Bag Components
- Alternator
- Antenna & Radio
- Anti-Theft Components
- Automatic Transmission
- Battery
- Battery & Related Components
- Bulbs - Chassis
- Combination Lamps
- Controls
- Cruise Control System
- Daytime Running Lamp Components
- Daytime Running Lamps
- Door
- Electrical Connectors
- Electrical Sockets
- Flashers
- Fog Lamps
- Front Seat Belts
- Fuse & Relay
- Glass, Windows & Related Components
- Headlamp Components
- High Mount Lamps
- Horn
- Ignition Lock
- Ignition System
- Instruments & Gauges
- Keyless Entry Components
- License Lamps
- Lighting - Exterior
- Lighting - Interior
- Mirrors
- Park & Signal Lamps
- Powertrain Control
- Rear Seat Belts
- Senders
- Sensors
- Side Marker Lamps
- Starter
- Switches
- Switches, Solenoids & Actuators
- Trunk
- Wipers
- A/C Accumulator/Receiver Drier
- A/C Clutch & Compressor
- A/C Flow Restrictors
- Blower Motor & Fan
- Condenser, Compressor & Lines
- Controls
- Electrical Connectors
- Evaporator & Heater Components
- Heater
- Hoses & Pipes
- HVAC Case
- Motors, Core, Case & Related Components
- Sensors
- Switches & Sensors
- Switches, Solenoids & Actuators
- Bumper & Components - Front
- Bumper & Components - Rear
- Center Console
- Convertible Top
- Cover & Components
- Cowl
- Door
- Door & Components
- Exterior Trim - Door
- Exterior Trim - Fender
- Exterior Trim - Hood
- Exterior Trim - Pillars
- Exterior Trim - Quarter Panel
- Exterior Trim - Roof
- Fender & Components
- Floor
- Folding Top
- Gate & Hardware
- Glass - Door
- Glass - Windshield
- Glass & Hardware
- Hinge Pillar
- Hood & Components
- Inner Components
- Instrument Gauges
- Instrument Panel
- Interior Trim - Convertible Top
- Interior Trim - Door
- Interior Trim - Pillars
- Interior Trim - Rear Body
- Interior Trim - Roof
- Labels
- Lid & Components
- Lock & Hardware
- Master Cylinder - Components On Dash Panel
- Outside Mirrors
- Quarter Panel
- Quarter Panel & Components
- Radiator Support
- Rear Body
- Rocker Panel
- Roof
- Roof & Components
- Seat Assembly
- Seat Belt
- Sound System
- Structural Components & Rails
- Top & Components
- Tracks & Components
- Trunk
- Uniside
- Windshield Header & Components
- Wiper & Washer Components
- ABS Components
- Air Bag Components
- Alternator
- Antenna & Radio
- Anti-Theft Components
- Automatic Transmission
- Battery
- Battery & Related Components
- Bulbs - Chassis
- Combination Lamps
- Controls
- Cruise Control System
- Daytime Running Lamp Components
- Daytime Running Lamps
- Door
- Electrical Connectors
- Electrical Sockets
- Flashers
- Fog Lamps
- Front Seat Belts
- Fuse & Relay
- Glass, Windows & Related Components
- Headlamp Components
- High Mount Lamps
- Horn
- Ignition Lock
- Ignition System
- Instruments & Gauges
- Keyless Entry Components
- License Lamps
- Lighting - Exterior
- Lighting - Interior
- Mirrors
- Park & Signal Lamps
- Powertrain Control
- Rear Seat Belts
- Senders
- Sensors
- Side Marker Lamps
- Starter
- Switches
- Switches, Solenoids & Actuators
- Trunk
- Wipers
- A/C Accumulator/Receiver Drier
- A/C Clutch & Compressor
- A/C Flow Restrictors
- Blower Motor & Fan
- Condenser, Compressor & Lines
- Controls
- Electrical Connectors
- Evaporator & Heater Components
- Heater
- Hoses & Pipes
- HVAC Case
- Motors, Core, Case & Related Components
- Sensors
- Switches & Sensors
- Switches, Solenoids & Actuators
No.
Part # / Description / Price
Price
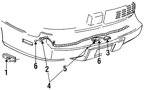
1
Rear Side Marker Lamp
GM
GM Positions: Left
Description: Coupe & convertible. Helps increase vehicle visibility to other drivers
This GM Genuine Part is designed, engineered, and tested to rigorous standards and is backed by General Motors
1
2
Multi-Purpose Lamp Socket
GM
GM Positions: Left
Description: Provides connection for light bulb contacts to operate bulb
3
Rear License Plate Lamp
GM
GM Description: 2 & 4 door. Sedan. LeSabre. 1992-95. 1996-99. Ultra. With Regency. Illuminates the license plate in low light conditions
This GM Genuine Part is designed, engineered, and tested to rigorous standards and is backed by General Motors
MSRP $43.06
$29.57
MSRP $43.06
$29.57
5
Multi-Purpose Lamp Socket
GM
GM Description: Provides connection for light bulb contacts to operate bulb
6
Multi-Purpose Light Bulb
GM
GM Description: Provides illumination for visibility and convenience
This GM Genuine Part is designed, engineered, and tested to rigorous standards and is backed by General Motors
MSRP $8.96
$6.05
MSRP $8.96
$6.05
Related Parts
Part # / Description / Price
Price
U-Shaped M4.2 X 1.4 Thread Nut
GM
GM Description: 2 door. Center. Sedan 1995-99. This GM Genuine Part is designed, engineered, and tested to rigorous standards and is backed by General Motors
MSRP $6.54
$5.04
MSRP $6.54
$5.04
